Примеры следящих приводов
1.4. ПРИМЕРЫ СЛЕДЯЩИХ ПРИВОДОВ
Современные технические комплексы характеризуются наличием ряда СП, различных по назначению, но образующих единую функциональную систему управления объектом. В качестве примера рассмотрим РЛС сопровождения цели, систему автоматического управления ЛА и схему управления промышленным роботом.
РЛС сопровождения цели. Задача, решаемая РЛС, сводится к обеспечению вращения зеркала антенны 3 (рис. 11, а) в плоскостях перемещения цели. Конструктивно антенна имеет две оси вращения и снабжена двумя СП, обеспечивающими вращение по азимуту (ось 2) и перемещение по углу места (ось 1). Для автоматического сопровождения цели антенна осуществляет направленную передачу импульсов и прием импульсов, отраженных от цели. При отклонении цели от электрической оси 4 антенны на угол ? в приемное устройство A1 поступают импульсы, модулированные по амплитуде. Глубина модуляции определяется отклонением цели от оси антенны, а фаза зависит от направления отклонения. В приемном устройстве выделяется огибающая отраженных импульсов и формируются два напряжения рассогласования U?a и U?.у.м, пропорциональных отклонению цели от равносигнальной зоны по азимуту и углу места. Эти напряжения после предварительного усиления подаются на управляющие обмотки электромашинного усилителя G, возбуждающие двигатель M в соответствующем канале. Двигатели через редукторы q поворачивают зеркало антенны одновременно по азимуту и углу места до тех пор, пока электрическая ось антенны не совместится с направлением на цель и напряжения сигнала ошибки и электромашинного усилителя не станут равными нулю,
Особенности данных приводов заключаются в том, что их замыкание происходит через пространство и цель, реальные задающая и исполнительная оси отсутствуют, а ошибка рассогласования определяется в виде разности углового положения электрической оси антенны и направления на цель, поэтому напряжение рассогласования вырабатывается не обычными датчиками угла, а с помощью радиолокационных устройств,
Ручное управление антенной осуществляется с помощью дополнительного СП, включенного в канал вращения антенны по азимуту. Для этой цели используются два сельсина: BC, соединенный с ручкой управления на пульте оператора, и BE, ротор которого вращается по азимуту вместе с осью колонки антенны. Если за дающий и принимающий валы и связанные с ними сельсины находятся в согласованном положении, то напряжение на вторичной обмотке сельсина BE равно нулю. Двигатель азимутального канала обесточен, и, следовательно, привод находится в состоянии покоя. При отклонении любого из валов от положения согласования выходное напряжение сельсина BE через усилитель A2 обеспечивает включение азимутального двигателя M и вращение антенны по азимуту.

Рис. 11. РЛС сопровождения цели
Для зрительного определения координат цели служат отсчетные устройства в виде подвижных шкал Шy.м, Ша и неподвижных указателей, закрепленных непосредственно или через передаточные механизмы на соответствующих осях вращения антенны.
РЛС, устанавливаемые на самолетах или кораблях, снабжаются дополнительной системой стабилизации основания антенны для исключения влияния углового перемещения подвижного объекта, искажающего радиолокационное изображение. Для стабилизации положения основания антенны его закрепляют в двойном карданном подвесе (рис, 11, б), оси которого управляются с помощью двух СП.
Рассмотрим устройство и принцип работы РЛС, например, относительно оси X. При отклонении корпуса объекта на угол ? от горизонтального положения появляется сигнал с датчика BCx, статор которого закреплен в корпусе объекта, а ротор связан с неподвижной в пространстве осью стабилизирующего гироприбора ГП. Этот сигнал сравнивается с сигналом датчика BEx, расположенного на указанной оси стабилизатора и совершающего движение вместе с подвижным объектом. Разностный сигнал через усилитель Ax подается на приводной двигатель Mx, который, отрабатывая сигнал, сообщит оси X угловое перемещение, противоположное угловому перемещению объекта, осуществляя стабилизацию положения электрической оси антенны относительно оси X.
С помощью второго СП обеспечивается стабилизация относительно оси Y, в результате чего основание антенны остается неподвижным в плоскости горизонта.
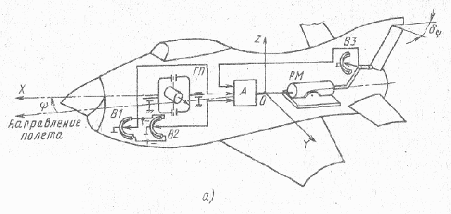
Система автоматического управления полетом ЛА. Функциональная схема системы управления полетом ЛА по курсу дана на рис. 12, а. Структурно (рис. 12, б) система состоит из двух контуров: внутреннего — рулевого привода РП, обеспечивающего стабилизацию режима полета при неизменном курсе (?3 = const), и внешнего — автопилота АП, предназначенного для управления полетом (изменения курса).
Управляемым объектом СП внешнего контура является ЛА, выходной координатой — угол рыскания ?. Для измерения углового положения ЛА применяется гироприбор ГП, ось которого заранее выставлена вдоль продольной оси самолета. Сохраняя неизменным свое положение в течение всего полета, ось ГП служит указателем курса. В режиме стабилизации при отклонении ЛА от заданного курса с потенциометра B2, закрепленного в корпусе ЛА и перемещающегося с ним относительно движка, связанного с осью ГП, снимается сигнал U?. Этот сигнал поступает на рулевой привод РП, отклоняющий руль направления ЛА. При отклонении руля возникает аэродинамический момент относительно оси OZ, разворачивающий самолет по курсу до тех пор, пока сигнал с B2 не станет равным нулю. Разворот ЛА по курсу (управление) осуществляется путем соответствующей установки задающего потенциометра B1, расположенного в кабине летчика и электрически связанного с потенциометром B2 гироприбора. В режиме управления и при наличии ошибки рассогласования UBX обеспечивается включение рулевого привода, отклонение руля и разворот ЛА на заданный угол.
Внутренний контур является исполнительным устройством системы управления (внешнего контура) и одновременно самостоятельным СП. Управляемым объектом этого СП является руль направления, выходной координатой — положение руля ??. Для определения положения руля в OC служит потенциометр B3, сигнал UОС с которого сравнивается с управляющим сигналом U??. Разностный сигнал U? усиливается в усилителе A и подается на рулевую машину PM, отклоняющую руль самолета до исчезновения ошибки рассогласования.
В качестве PM могут быть использованы электрические, пневматические, но наибольшее применение получили электрогидравлические рулевые машины (рис. 12, б), включающие электрогидравлический усилитель ЭГУ, гидродвигатель ГД и потенциометр обратной связи B3.


Рис. 12. Схемы системы управления ЛА
СП промышленного робота. Современный этап автоматизации производственных процессов характеризуется внедрением промышленных роботов и манипуляторов, предназначенных для выполнения двигательных функций, аналогичных функциям руки человека при перемещении объектов в пространстве, и оснащенных рабочим органом. Манипуляторы находят широкое применение в машиностроении (для обслуживания станков с ЧПУ, конвейеров), в металлургии (для обслуживания печей, прессов), в атомной промышленности, а также для исследования водных глубин.
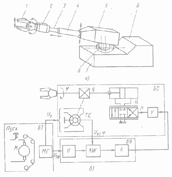
Робот, изображенный на рис. 13, а, состоит из захватного устройства 1 и звеньев 3—5, снабженных индивидуальными СП. Каждый привод обеспечивает движение звена в одной плоскости. В результате робот имеет пять степеней подвижности. Привод, расположенный в корпусе 7, осуществляет поворот руки робота вокруг вертикальной оси. Другой привод в этом же корпусе путем выдвижения штока 8 обеспечивает подъем руки в вертикальной плоскости. Привод, расположенный в звене 5, позволяет изменять ход руки за счет перемещения штока 4; другой привод, расположенный там же, посредством штока 3 закрывает и открывает захватное устройство. И, наконец, привод звена 2 осуществляет вращение захватного устройства вокруг собственной оси.
СП робота могут быть электрогидравлическими или пневматическими, но по структуре все они идентичны. Поэтому ниже рассмотрим устройство и принцип работы одного из них, предназначенного для вращения захватного устройства. Функциональная схема его приведена на рис. 13, б.
B рассматриваемом приводе можно выделить три конструктивных блока: силовой блок БС, блок управления БУ и блок задатчика БЗ. Силовой блок составляют гидравлический исполнительный механизм (гидроцилиндр Ц, распределитель P, электромеханический преобразователь Y), редуктор q и вращающийся трансформатор TE.
Блок управления, включающий преобразователь U цифрового сигнала в напряжение, элемент сравнения AW и усилитель A, служит для согласования силовых элементов привода с блоком задатчика.

Рис. 13. Робот
При числовом программном управлении роботом задание программы осуществляется в виде чисел, записанных на магнитной ленте. Ha одну дорожку ленты наносится опорный синусоидальный сигнал U0. Ha другие дорожки записываются рабочие сигналы, определяющие перемещение звеньев манипулятора в продольном, поперечном, вертикальном направлениях, вращение и зажим захватного устройства.
Манипулятор работает следующим образом. При нажатии на пульте управления 6 (см. рис. 13, а) кнопки «Пуск» двигатель M приводит в движение лентопротяжный механизм. Магнитная головка МГ начинает воспроизводить записанные сигналы: опорного U0 и рабочего U3? напряжений. Напряжение U0 поступает на вращающийся трансформатор TE, механически соединенный со штоком гидроцилиндра Ц и реализующий OC по углу поворота. Рабочее напряжение U3? с помощью преобразователя U преобразуется в аналоговый сигнал, который подается на элемент AW, где сравнивается с сигналом OC, поступившим с TE.
Полученная разность через усилитель A подается на электромеханический преобразователь Y поступательного действия и далее на распределитель P, который управляет гидроцилиндром Ц. Рабочая жидкость в зависимости от управляющего сигнала поступает в левую или правую полость гидроцилиндра, создавая перепад давления, под действием которого происходит перемещение штока поршня гидроцилиндра. С помощью редуктора это перемещение преобразуется в поворот захватного устройства манипулятора. Угол поворота определяется значением ошибки рассогласования, а направление — фазой сигнала. Применение роботов обеспечивает безопасность труда рабочих, позволяет повысить производительность труда и качество технологических процессов.
Назад | Содержание
| Вперед