Преобразующие каскады усилителей
8.4. ПРЕОБРАЗУЮЩИЕ КАСКАДЫ УСИЛИТЕЛЕЙ
По характеру выходного сигнала преобразующие каскады разделяются на непрерывные и дискретные. К непрерывным относятся модуляторы и демодуляторы, преобразующие род тока сигналов. Дискретные устройства преобразуют входной непрерывный сигнал в импульсный с изменяющимся признаком: шириной, амплитудой, частотой.
Непрерывные преобразователи. Устройство, преобразующее сигнал постоянного тока в сигнал переменного тока, амплитуда и фаза которого определяются значением и полярностью входного сигнала, называется модулятором (M). Демодулятором (ДМ) называется устройство, преобразующее сигнал переменного тока в сигнал постоянного тока, сила и полярность которого определяются амплитудой и фазой сигнала переменного тока.
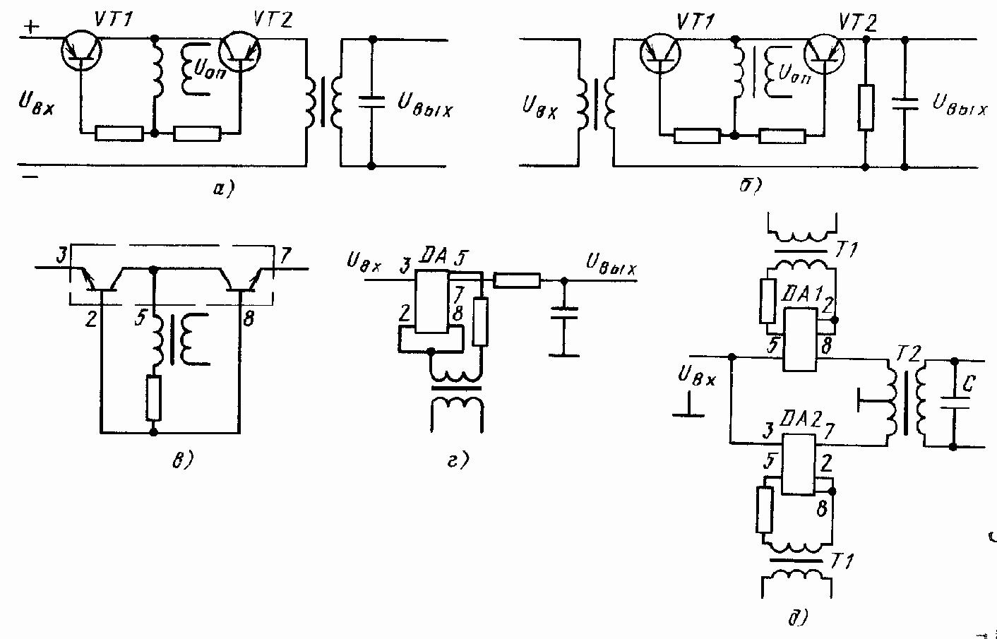
Преобразование сигналов осуществляется за счет применения специальных прерывателей, коммутирующих электрическую цепь нагрузки с частотой fк, равной частоте fоп опорного напряжения Uоп. Принцип модуляции и демодуляции легко понять из рассмотрения схем на рис. 85. В схеме M (рис. 85, а) ток i, образуемый от входного напряжения в цепи первичной обмотки трансформатора T, благодаря действию прерывателя S (1 — открыт, 0 — закрыт) носит импульсный характер. Во вторичной обмотке трансформатора индуцируется переменная ЭДС с частотой, определяемой частотой коммутации прерывателя и называемой несущей, в отличие от модулирующей частоты изменения входного сигнала. Для выделения первой гармонической составляющей несущей частоты обмотку трансформатора T шунтируют конденсатором C. Полученный таким образом колебательный контур настраивают на несущую частоту. Из рассмотрения графиков токов и напряжений видно, что при изменении полярности входного сигнала (см. U??1 и U??2) фаза выходного сигнала (UВЫХ1 и UВЫХ2 соответственно) изменяется на 180°.

Рис. 85 Схемы и графики, поясняющие принцип работы преобразователей
В схеме ДМ (рис. 85, б) прерыватель, замыкаясь с частотой, равной несущей частоте входного сигнала, будет пропускать либо положительные, либо отрицательные полуволны этого сигнала в зависимости от соотношения фаз входного сигнала и опорного напряжения (состояния ключа: замкнут — разомкнут).
При совпадении фаз напряжений с резистора нагрузки RН снимается положительное напряжение. При изменении фазы на 180° полярность выходного сигнала меняется на противоположную. Если соотношение фаз будет изменяться, то выходное напряжение будет уменьшаться. При сдвиге фаз 90 и 270° напряжение на выходе будет равно нулю, так как за время замыкания ключа пройдет «половина» положительной и «половина» отрицательной полуволн, а среднее за период напряжение будет равно нулю. Это свойство ДМ используется для защиты СП от сигнала помехи, вызванного квадратурной составляющей сельсинов и BT и смещенного по отношению к основному сигналу на 90°. Для сглаживания пульсации выпрямленного напряжения в схеме ДМ (рис. 85, б) параллельно резистору нагрузки RН включают конденсатор C.
Основными показателями M и ДМ являются коэффициенты передачи kмkдм входное и выходное сопротивления; дрейф нуля; коэффициент пульсации на выходе ДМ и содержание высших гармоник на выходе M; степень инерционности.
Ha практике M и ДМ классифицируют по следующим признакам:
по принципу работы — на однополупериодные и двухполупериодные; двухполупериодные преобразователи строят на базе двух идентичных прерывателей, включенных в общую схему,' они отличаются малым коэффициентом пульсации выпрямленного напряжения или малым содержанием высших гармоник в промодулированном сигнале;
по наличию процесса усиления преобразуемого сигнала по мощности — на активные и пассивные; активные ДМ называют фазочувствительными усилителями (ФЧУ), пассивные ДМ — фазочувствительными выпрямителями (ФЧВ);
по способу включения — на последовательные, параллельные и последовательно-параллельные;
по способу коммутации (типу прерывателя) — на контактные и бесконтактные.
Так как применение контактных преобразователей ограничено вследствие небольшой частоты переключений и наличия контактов, снижающих надежность системы и вызывающих появление частотных помех, остановимся на рассмотрении бесконтактных устройств.
Бесконтактные преобразователи. Для повышения надежности СП прерыватели выполняют на основе нелинейных элементов, способных изменять свое внутреннее сопротивление в определенных пределах с частотой опорного напряжения.
В качестве нелинейных элементов используют полупроводниковые диоды и триоды, интегральные прерыватели и ОУ.
Схемы преобразователей на диодах отличаются простотой реализации, но одновременно характеризуются небольшим коэффициентом передачи и значительным дрейфом нуля вследствие нестабильности характеристик диодов.
Более высокие показатели (линейность, большое входное сопротивление) имеют M и ДМ, построенные на транзисторах, работающих в ключевом режиме. В качестве прерывателя (ключа) служит эмиттерно-коллекторный переход, сопротивление которого меняется в зависимости от приложенного к одному из переходов коммутирующего (опорного) напряжения Uоп. Ключ находится в открытом состоянии, если опорное напряжение приложено минусом к базе, а плюсом к коллектору транзистора типа n-p-n. При этом транзистор обладает двусторонней проводимостью, а направление и сила тока в нагрузке определяются полярностью и амплитудой сигнала на входе схемы. Состояние ключа меняется на противоположное (закрыт) при смене полярности опорного напряжения.
Обычно используют схемы компенсирующих ключей, состоящих из двух транзисторов, включенных цепями эмиттер-коллектор последовательно-встречно (рис. 86). При отрицательных потенциалах на базах транзисторов VT1 и VT2 оба транзистора одновременно, открываются, пропуская входной сигнал на выход. Во второй полупериод опорного напряжения оба транзистора закрыты. Компенсированные ключи по отношению к нагрузке могут быть включены последовательно и параллельно. В схемах однополупериодных M (рис. 86, а) и ДМ (рис. 86, б) использовано последовательное включение ключей. Преимуществом транзисторных ключей является то, что они работают при любых значениях входного сигнала, даже больших опорного напряжения. Недостатком служит дрейф нуля за счет появления высокочастотных помех при замыкании и размыкании ключей.
Значительного снижения дрейфа нуля можно добиться применением интегральных микросхем, обладающих в силу своих технологических особенностей высокой стабильностью характеристик.
Ha рис. 86, в дана принципиальная схема интегрального прерывателя 101KT1A, представляющего собой две идентичные транзисторные структуры типа n-p-n, выполненные на одной подложке из кристалла кремния и имеющие общий коллектор. Условное графическое изображение и схема включения прерывателя представлены на рис. 86, г.

Рис. 86. Преобразователи на транзисторных ключах
Принцип работы двухполупериодного M на интегральных прерывателях DA1 и DA2, работающих в противофазе, можно рассмотреть на примере схемы, представленной на рис. 86, д. B первый полупериод опорного напряжения, создаваемого трансформатором Т1, работает ключ DA1. Ток от +U?? проходит через верхнюю первичную полуобмотку трансформатора VT2. Во второй полупериод ток протекает через замкнутый ключ DA2 через нижнюю полуобмотку трансформатора T2. В результате во вторичной обмотке выходного трансформатора индуцируется двухполупериодная ЭДС. Режим работы интегральных прерывателей близок к идеальному, что обеспечивает высокий уровень полезной мощности в нагрузке.
Поскольку в M и ДМ для улучшения качества выходного сигнала на выходе включают конденсаторы, образующие RC-, LC-контуры, то инерционность усилителя в целом возрастает, и в некоторых случаях возникает необходимость учета постоянных времени модулятора ТМ и демодулятора ТДМ.
Существенным недостатком рассмотренных выше схем преобразователей является необходимость применения (для получения двуполярного сигнала) входного либо выходного трансформатора, что увеличивает размеры усилителя. Наиболее перспективным с точки зрения уменьшения размеров, упрощения технологии сборки, унификации всего усилителя, а также повышения надежности является применение преобразователей на базе интегральных ОУ.

Рис. 87. Преобразователи на ОУ
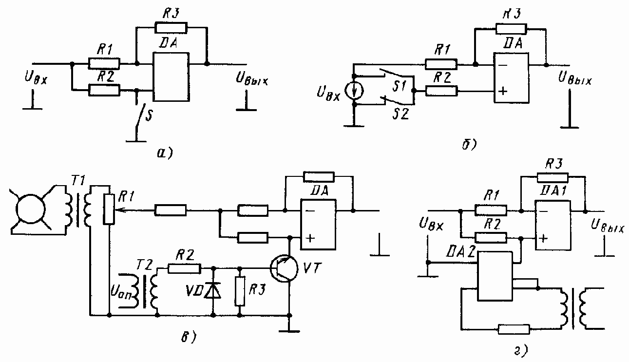
Преобразователи на базе ОУ. Рассмотрим работу преобразователя на базе ОУ с управляемым ключом S в цепи неинвертирующего входа усилителя (рис. 87, а). Модуляция постоянного входного напряжения U?? происходит за счет периодического замыкания и размыкания ключа с частотой опорного напряжения.
B замкнутом состоянии ключ соединяет прямой вход DA с землей и схема работает как инвертор с коэффициентом передачи kП = —1 (U?Ы? = — U??) при условии, что R3 = R1. При разомкнутом ключе S сигнал поступает одновременно на оба входа ОУ. Вследствие большого входного сопротивления по неинвертирующему входу ток через резистор R2 не течет, поэтому потенциал на входе будет равен U??. 3a счет действия OC потенциал на инвертирующем входе также будет равен U??. Ток через резистор R1 не течет, и усилитель работает как повторитель напряжения с коэффициентом kП = +1, т. e. U?Ы? = U??.
Таким образом, на выходе преобразователя напряжение коммутируется от — U?? до + U??, что соответствует двухполупериодной модуляции.
Рассмотренный M по сравнению с преобразователями на транзисторных ключах и интегральных прерывателях имеет то преимущество, что обеспечивает развязку входной цепи ОУ с модулирующими ключами и имеет низкое выходное сопротивление. Недостатком схемы является нарушение баланса усилителя на время одного полупериода коммутации, так как при замкнутом и разомкнутом состояниях ключа S входное сопротивление ОУ различно.
Разбаланса избегают включением на прямом входе ОУ последовательно-параллельного коммутатора из двух ключей S1 и S2 (рис. 87, б), работающих в противофазе. Модуляция постоянного входного сигнала происходит за счет поочередного замыкания ключей S1, S2. Входное сопротивление усилителя при переходе от одного полупериода к другому не изменяется. И при условии идентичности ключей и равенстве сопротивлений резисторов R1, R2, R3 баланс усилителя не нарушается.
Рассмотренные преобразователи (см. рис. 87, а, б) универсальны и могут быть использованы в качестве ДМ.
Принципиальная схема ДМ с одним ключом на транзисторе изображена на рис. 87, в. Для формирования сигнала Uоп в цепь базы транзистора VT включены трансформатор T2, резисторы R2, R3 и диод VD, отсекающий отрицательную полуволну Uоп. В положительные полупериоды Uоп ключ замкнут, так как транзистор VT входит в режим насыщения.
Если переменное входное напряжение, поступающее на вход ОУ с трансформатора T1 через резистор R1, в первый полупериод совпадает по фазе с напряжением Uоп (ключ замкнут), то ОУ выполняет функцию выпрямителя с коэффициентом kП = —1. Bo второй полупериод меняется знак амплитуды входного сигнала, но и ОУ с разомкнутым ключом работает как повторитель с kП = +1. В результате на выходе ОУ получается двухполупериодный выпрямленный сигнал, полярность которого определяется фазой UBX. В качестве ключа можно применить более совершенный интегральный прерыватель (рис. 87, г). Работа схемы и назначение элементов аналогичны описанным к рис. 87, а.
Активные преобразователи. Общим недостатком устройств, построенных на диодных, транзисторных ключах и интегральных прерывателях, является пассивное преобразование сигналов, так как они коммутируют цепь маломощного источника входного сигнала без дополнительного усиления. Использованием ключей в сочетании с ОУ добиваются улучшения качественных показателей преобразователей. Такие устройства обеспечивают развязку цепей усилителя с ключами, не ослабляют сигнал, но и не усиливают его.
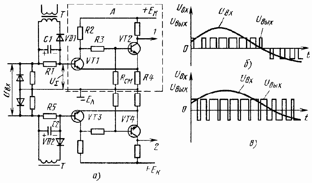
Активного преобразования сигнала добиваются применением транзисторов при таком включении, когда маломощный управляющий сигнал подводится к цепи эмиттер-база, а переход эмиттер-коллектор служит в качестве прерывателя в цепи мощного источника питания транзисторов. В двухполупериодном ФЧУ на транзисторах (рис. 88) выпрямление и усиление сигнала достигается совместной работой транзисторов VT1 и VT2 и четырех диодов VD1—VD4, образующих вместе с двумя вторичными обмотками трансформатора опорного напряжения T2 и резисторами нагрузки R1, R2 четыре смежных контура. Обмотки T2 включены так, что в каждый полупериод опорного напряжения открыты диоды противолежащих (диагональных) контуров: VD1, VD4 или VD2, VD3. За счет этого происходит поочередное подключение транзисторов VT1, VT2 к резисторам R1 и R2.

При одной полярности опорного напряжения Uоп в первый полупериод по резистору R1 протекает ток транзистора VT2, пропускаемый диодом VD4, а по резистору R2 — ток транзистора VT1, пропускаемый диодом VD1.
Во второй полупериод ток транзистора VT2 через диод VD2 потечет по резистору R2, а ток транзистора VT1 — по резистору R1 через диод VD3. При отсутствии сигнала рассогласования базы и эмиттеры обоих транзисторов оказываются закороченными. Небольшие, но равные по силе начальные коллекторные токи, протекая по резисторам R1 и R2 в противоположных направлениях, создают взаимно компенсирующие падения напряжений, и UВЫХ= 0.
При подаче входного сигнала, поступающего на базы VT1 и VT2 с трансформатора T1 в противофазе, сопротивления транзисторов изменяются, что приводит к нарушению условия компенсации в схеме и появлению выходного напряжения. Возрастающий ток открывающегося транзистора (например, VT1) будет создавать большее падение напряжения на одном из резисторов (например, R1). При этом большим окажется падение напряжения на этом резисторе и во втором полупериоде, так как со сменой фазы входного сигнала по R1 протекает увеличенный ток транзистора VT2. Благодаря включению в схему диодов обеспечивается защита коллекторных переходов транзисторов от обратных напряжений в нерабочие периоды. Питание транзисторов становится пульсирующим, что улучшает энергетические показатели каскада (повышается КПД и уменьшается мощность рассеяния транзисторов). Нагрузками рассмотренного устройства являются обмотки управления дифференциальных магнитных усилителей, ЭМП, ЭМУ, ЭПМ.
Дискретные преобразователи. Устройства, предназначенные для преобразования медленно изменяющихся непрерывных сигналов в последовательность прямоугольных импульсов с переменным параметром (частотой, амплитудой, длительностью), называются дискретными преобразователями. Наибольшее распространение получили широтно-импульсные модуляторы и фазосдвигающие устройства.

Рис. 90. ШИМ на транзисторах
Широтно-импульсные модуляторы (ШИМ) — преобразователи, формирующие импульсы переменной длительности (скважности), зависящей от входного сигнала. Под скважностью ? понимается отношение длительности периода повторения импульсов T к длительности импульса tи: ? = T/tи (рис. 89).
Преобразование сигналов осуществляется с помощью бесконтактного релейного устройства, сравнивающего непрерывный входной сигнал UBX c пилообразным опорным напряжением Uоп. В моменты равенства абсолютных значений этих напряжений (U? = 0) периодически срабатывает реле, и на его выходе появляются импульсы UВЫХ длительности tи, зависящей от уровня входного сигнала. Полярность опорного напряжения Uоп выбирают такой, чтобы при отсутствии управляющего сигнала оно не изменяло состояния реле и не приводило к самовозбуждению от незначительных помех.
В качестве релейных элементов могут быть применены компараторы, построенные на основе интегральных ОУ, пороговые элементы, триггеры с положительной ос в коллекторной и эмиттерной цепях. Примером релейного элемента может служить триггер Шмитта А, собранный на транзисторах VT1, VT2 и отличающийся от симметричного триггера отсутствием связи коллектора VT2 с базой VT1 (рис. 90, a). В исходном состоянии транзистор VT2 открыт за счет положительного смещения, созданного делителем R2, R3, Rсм, транзистор VT1 закрыт запирающим напряжением, создаваемым на резисторе R4 током насыщения транзистора VT2. C подачей входного сигнала U? положительной полярности состояние схемы лавинообразно меняется на противоположное: VT1 открывается, падение напряжения на резисторе R2 возрастает, а на резисторе R4 уменьшается, что приводит к уменьшению запирания транзистора VT1. Транзистор VT2 закрывается вследствие уменьшения напряжения смещения на резисторе Rсм. При снятии входного сигнала триггер возвращается в исходное состояние в результате действия эмиттерной положительной OC, реализованной с помощью резистора R4.
В зависимости от схемы ШИМ импульсы на выходе преобразователя могут быть однополярными или разнополярными. Однополярные импульсы формируются в виде последовательности импульсов разной скважности (рис. 90, б), полярность которых зависит от знака входного сигнала. При сигнале, равном нулю, импульсы на выходе отсутствуют. Разнополярные импульсы представляют собой последовательность импульсов чередующейся полярности (рис. 90, в).
B зависимости от знака рассогласования длительность t1 импульсов одной полярности преобладает над длительностью t2 импульсов другой полярности, а в сумме длительности этих импульсов составляют период повторения импульсов: t1 + t2 = T. При отсутствии входного сигнала с выхода ШИМ снимаются разнополярные импульсы одинаковой длительности.
ШИМ, формирующий однополярные импульсы (см. рис. 90, а), симметричен и состоит из двух триггеров Шмитта на транзисторах VT1—VT4 и двух источников пилообразного напряжения, собранных на RС - цепочках и вторичных обмотках трансформатора T. Схема включения диода VD1 (VD2) такова, что создаваемое на резисторе R1 (R5) токами перезаряда конденсатора C1 (C2) пилообразное напряжение будет прикладываться к базе VT1 (VT3) в полярности, при которой транзистор будет еще больше запираться. При отсутствии входного сигнала с выходов 1 и 2 ШИМ снимается постоянное напряжение. С приходом управляющего сигнала U?? начинает коммутироваться та половина схемы, на вход которой поступил положительный сигнал (на рис. 90, а — верхняя). Смена полярности входного сигнала приведет в действие нижнюю половину ШИМ, и на выходе 2 появятся импульсы переменной скважности.
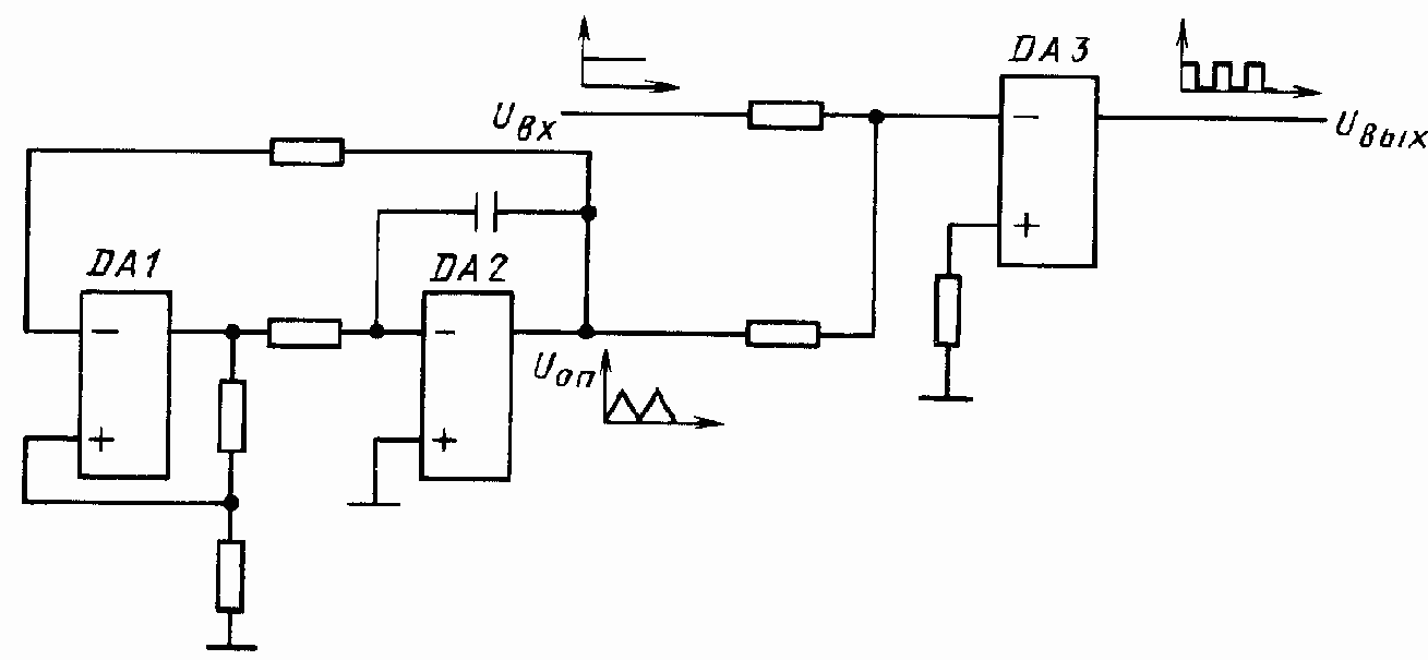
Схема ШИМ, изображенная на рис. 91, построена по аналогичному принципу, но на ОУ. Опорное напряжение треугольной формы вырабатывается ГТИ, собранном на ОУ DA1 и DA2. Назначение элементов и работа ГТИ соответствуют описанию к рис. 84, б. В качестве релейного элемента применен одновходовый компаратор DA3, формирующий на выходе двуполярные импульсы со скважностью, зависящей от амплитуды управляющего сигнала. При соотношении UBX — Uоп < 0 на выходе ШИМ будет импульс положительной полярности, при смене знака разности на выходе формируется импульс отрицательной полярности.

Рис. 91. ШИМ на ОУ
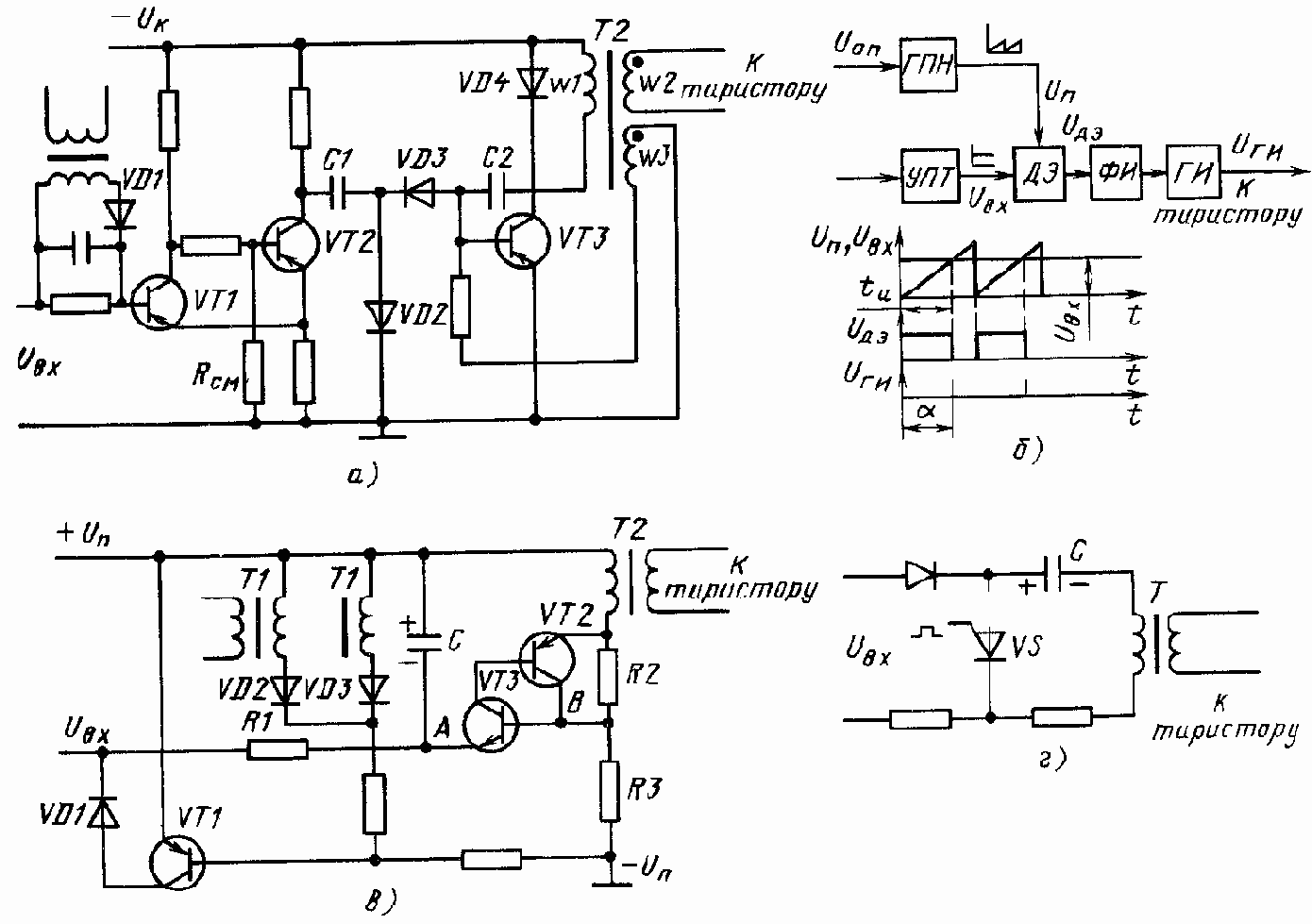
Фазосдвигающие устройства (ФСУ) являются дискретными преобразователями, предназначенными для выработки управляющих тиристорами импульсов, фаза которых зависит от амплитуды сигнала управления.
ФСУ, связывающее выходной каскад на тиристорах с предварительным усилителем, является важнейшим элементом не только усилителя, но и всего привода, определяя надежность его работы, качественные показатели и размеры. В связи с этим к ФСУ предъявляют жесткие требования по амплитуде, ширине и крутизне фронта управляющего импульса, а также по быстродействию.
ФСУ могут быть построены на базе транзисторов, диодов, тиристоров, ОУ. Некоторые схемные решения ФСУ приведены на рис. 92.
Особенностью устройства, схема которого дана на рис. 92, а, является работа по принципу «вертикального» управления. Структурно подобного рода ФСУ состоит (рис. 92, б) из генератора пилообразного напряжения ГПН, дискретного элемента ДЭ, формирователя импульсов ФИ и генератора импульсов ГИ. Уровень напряжения управления UBX, поступающего с УПТ, меняется в зависимости от рассогласования. В дискретном элементе осуществляется сравнение UBX с пилообразным напряжением Un и преобразование непрерывного сигнала в дискретный. Импульс с ФИ вырабатывается в момент изменения знака разности указанных напряжений, а угол его сдвига ? определяется значением UBX. Генератор импульсов выдает управляющий импульс, длительность которого достаточна для нарастания тока тиристора до его удержания.
В схеме на рис. 92, а в качестве дискретного элемента ФСУ применен ШИМ, собранный на транзисторах VT1 и VT2 и работающий аналогично устройству, рассмотренному на рис. 90, а. В коллекторной цепи транзистора VT2 протекает ток, имеющий форму прямоугольных импульсов с длительностью, определяемой величиной управляющего напряжения UBX. Снимаемый с выхода ШИМ прямоугольный импульс поступает на формирователь импульса в виде цепочки C1, VD2 и дифференцируется. Образующийся по переднему фронту положительный короткий импульс отсекается диодом VD2, а по заднему фронту отрицательный импульс через диод VD3 подается на вход генератора импульсов, выполненного по схеме ждущего блокинг-генератора на транзисторе VT3, с трансформаторной обратной связью.
Транзистор VT3, нагруженный первичной обмоткой импульсного трансформатора T2, открывается с подачей на базу короткого отрицательного импульса. Протекающий по первичной обмотке w1 ток создает в обмотке w3 ЭДС, приложенную к базе транзистора VT3 и поддерживающую в ней ток после снятия короткого входного импульса. Для исключения ложных срабатываний от посторонних импульсов в цепи база—коллектор транзистора VT3 предусмотрен конденсатор C2, снижающий чувствительность блокинг-генератора к коротким импульсам. Диод VD4 служит для снятия противоЭДС, запасенной в обмотке wl трансформатора T2. Управляющий импульс снимается с вторичной обмотки w2 и поступает на управляющий электрод тиристора.

Рис. 92. Фазосдвигающие устройства
В схеме ФСУ, изображенного на рис. 92, в, исключено сравнение пилообразного опорного напряжения с управляющим [16]. Регулируемое по значению постоянное управляющее напряжение в данном устройстве является источником питания ГПН и непосредственно поступает на его вход. Основу ГПН составляет аналог двухбазового диода (АДД), выполненный на транзисторах VT2, VT3 разной проводимости. Конденсатор C служит для управления диодом путем накопления заряда. При отсутствии управляющего сигнала АДД закрыт за счет смещения, создаваемого делителем R2, R3. При поступлении отрицательного сигнала управления конденсатор начинает заряжаться через резистор R1. Отпирание АДД и разряд конденсатора через диод происходят в момент равенства напряжений в точках A и B. Ток разряда конденсатора проходит по первичной обмотке импульсного трансформатора T2 и формирует во вторичной обмотке управляющий импульс. Чем больше уровень напряжения управления, тем быстрее срабатывает АДД и появляется управляющий импульс.
Для синхронизации работы ФСУ с напряжением питания тиристора применен транзистор VTl, к базе которого приложено выпрямленное с помощью диодов VD2, VD3 опорное напряжение. Большую часть периода транзистор VT1 закрыт и не влияет на работу ГПН. В моменты перехода Uоп через нуль транзистор VT1 открывается и к нижней обмотке конденсатора C через резистор R1 и диод VD1 прикладывается положительное напряжение, и конденсатор разряжается.Этим достигается совпадение начала нового заряда конденсатора и начала нового полупериода напряжения питания тиристора.
Схема управления, изображенная на рис. 92, а, наиболее проста и содержит в качестве синхронизатора тиристор. Выходные импульсы формируются при разряде конденсатора C через первичную обмотку трансформатора T и тиристор VS в момент подачи управляющего импульса на этот тиристор.
Как недостаток данного ФСУ следует отметить высокий уровень напряжения на элементах схемы, а, как известно, максимальные значения напряжений, прикладываемых к тиристору, по техническим условиям не должны превышать половины их максимально допустимых значений.
Назад | Содержание
| Вперед